产品名称:THB6032MQ(停产)
相关资料下载详细介绍:
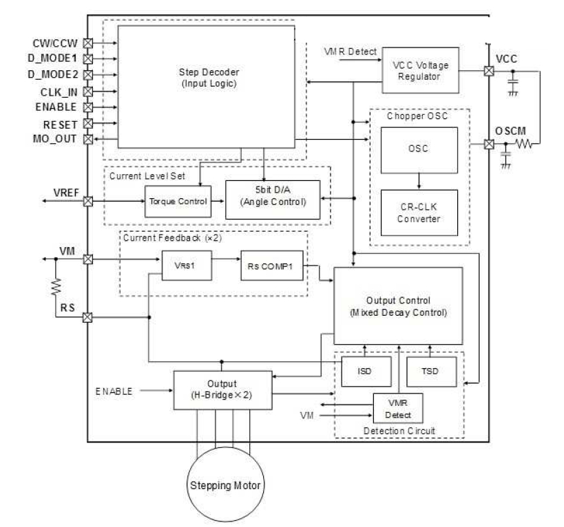
特性双全桥MOSFET驱动
高耐压50VDC,大电流4.0A(峰值)
细分选择:1、1/2、1/4、1/8、1/16、1/32
自动衰减方式
内置温度保护及过流保护
管脚说明
管脚
编号
符号
功 能 描 述
1
VCC
内部5V电源滤波端
2
NC
空脚
3
D_MODE_0
细分数选择端(详见附表)
4
NC
空脚
5
GND
电源地线
6
Vref
电流设定端
7
OSCM
斩波频率控制端
8
CW/CCW
电机正反转控制端
9
D_MODE_1
细分数选择端(详见附表)
10
D_MODE_2
细分数选择端(详见附表)
11
CLK
脉冲输入端
12
ENABLE
使能端
13
RESET
复位端
14
GND
电源地线
15
NC
空脚
16
RS_A
A相电流检测端(应连接大功率检测电阻)
17
OUT_A+
A相功率桥输出端1
18
GND
电源地线
19
OUT_A-
A相功率桥输出端2
20
GND
电源地线
21
OUT_B-
B相功率桥输出端2
22
GND
电源地线
23
OUT_B+
B相功率桥输出端1
24
RS_B
B相电流检测端(应连接大功率检测电阻)
25
VM
电机驱动电源输入端
参考图

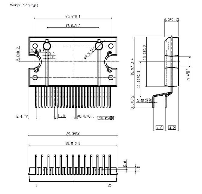
封装图
